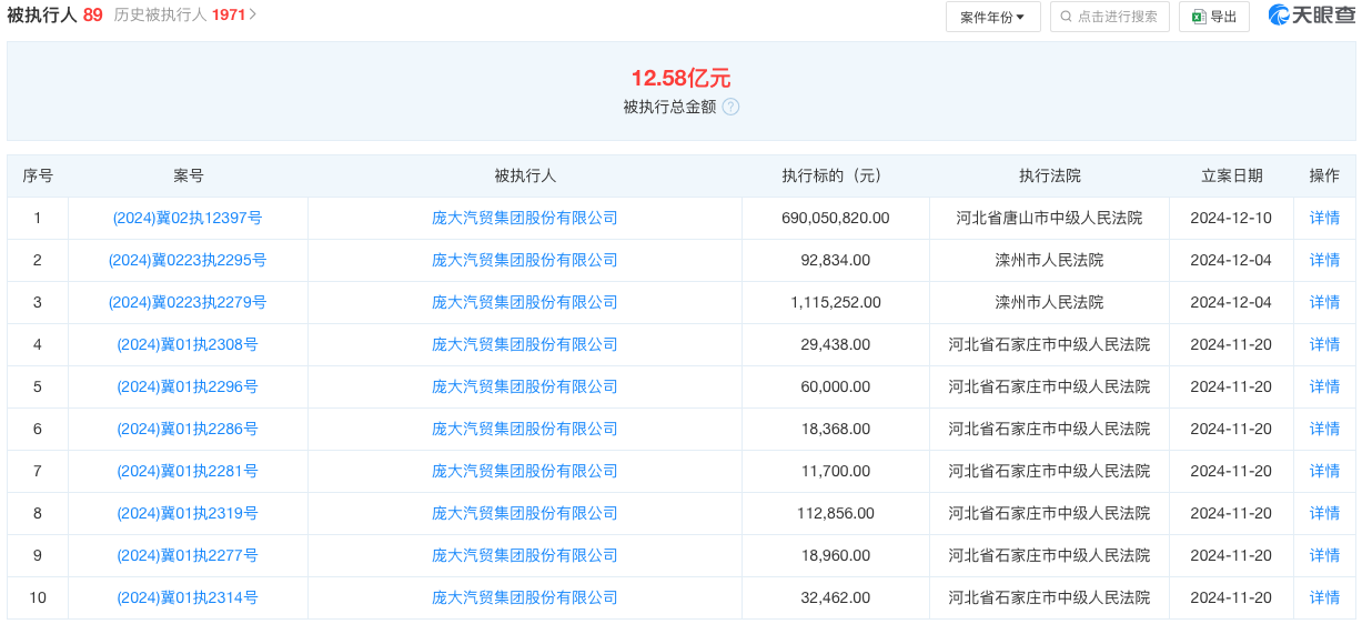
天眼查信息显示,12月10日,庞大汽贸集团股份有限公司(下称“庞大集团”)新增一则被执行人信息,执行标的为6.9亿余元,执行法院为河北省唐山市中级人民法院。

这是本月庞大集团第二次被强制执行。12月4日,庞大集团新增两则被执行人信息,执行标的为9.28万元和111.53万元,执行法院为滦州市人民法院。在此之前的11月20日,庞大集团新增多则被执行人信息,高达48则,一口气新增如此多的被执行人信息这在车企中还是比较罕见的,另外,11月19日也新增了6则被执行人信息。频繁新增多起强制执行人信息对于当下的庞大集团而言无疑是雪上加霜。截至发稿前,该公司被执行累计总金额为12.58亿元。

资料显示,庞大汽贸集团股份有限公司(下称“庞大集团”)成立于2003年3月,曾用名为唐山庞大汽车贸易股份有限公司,法定代表人为程争志,注册资本和实缴资本均为102亿人民币。2023年10月,黄继宏正式卸任法定代表人、董事长,由程争志接任,同时,企业类型由其他股份有限公司(上市)变更为其他股份有限公司(非上市)。
作为曾经的“4S店之王”,庞大集团主营奔驰、一汽奥迪、一汽大众、一汽丰田和斯巴鲁等30多个乘用车品牌,但如今其日子并不好过。今年6月,上海证劵交易所对该公司股票予以摘牌,由此庞大集团退市。值得一提的是,庞大集团的处境并非独例。

进入2024年以来,多家传统汽车品牌4S店和经销商承受较大压力,面临财务危机、关店退网、濒临退市等危机。今年9月,中国汽车流通协会曾发文表示,大量经销商反映持续的价格战致使汽车经销商深陷泥潭,面临资金流动性极度紧张的突出问题。彼时,中国汽车流通协会还指出,汽车经销商的新车销售出现大面积亏损,普遍存在现金流赤字经营和资金链断裂风险加剧的情况,已难以摆脱生存的困境,消费不振和厂家批发量的双重压力导致经销商库存维持高位。另外,持续的价格战也使得进销倒挂严重,经销商卖得越多亏得越多。
虽然今天的汽车市场已越来越开放,但伴随着汽车行业的价格战以及竞争的加剧,无论是经销商还是4S店均面临不小的挑战。业内人士认为,在残酷的竞争下,未来还将会有更多的经销商和4S店倒下,尤其是资金链较为脆弱的经销商和4S店,想要存活就必须紧跟市场做出变革和重塑。
如系本站原创文章,转载请注明出处:qi-che.com。
更多汽车新闻关注 请扫码qi-che.com公众微信号:

声明:
·凡注明为其他媒体来源的信息,均为转载自其他媒体,转载并不代表本网赞同其观点,也不代表本网对其真实性负责。如系qi-che.com原创文章,转载请注明出处:qi-che.com。
·您若对该稿件内容有任何疑问或质疑,请即与qi-che.com联系,本网将迅速给您回应并做处理。
邮箱mail@qi-che.com
处理时间:周一—周五 9:00—18:00
相关阅读
随着中国汽车市场新车销量持续下滑,传统乘用车(轿车、SUV、MPV)的需求下降,一直被忽视的皮卡车型有望迎来爆发期。6月6日,国家发改委等三部委共同下发《推动重点消费品更新升级畅通资源循环利用实施方案(2019-2020年)》,除逐步取消限购规定促进汽车消费外,皮卡车型的进一步解禁也被纳入改革的重点项目。实施方案中明确表示,鼓励有条件的地级及以下城市加快取消皮卡进城限制,充分发挥皮卡客货两用功能。...
今年以来,一直在新能源汽车领域动作频频的恒大,近日又因大规模、高标准的人才招募再度引得市场关注。9月9日,恒大新能源汽车全球研究总院启动全球招聘,计划招聘8000名新能源汽车产业世界顶级专家和技术精英,工作地点遍布中国、瑞典、德国、英国、荷兰、奥地利、意大利、日本、韩国等九个国家。造车狂人恒大“逆势揽才”今年的汽车行业可谓是日渐趋寒,无论是传统汽车业的领头羊如福特、通用、大众等车企动辄上千人的裁员...
买汽车,到集美!2019首届集美汽车购物节现已强势登陆,席卷全城!作为集美区首次举办的汽车消费嘉年华,本届购物节不仅覆盖范围广、优惠力度大、亮点活动多,更有超长购车期限,等你货比三家甄选性能好车!活动期间,集美汽车购物节深入挖消费潜力,通过推出“前往北站汽车城买车,就送千元油卡”等系列活动,将集美汽车购物节打造成厦门具有标志性汽车消费活动。购车送油卡,优惠齐聚集美汽车购物节本届集美汽车购物节集合了...
最新内容
天眼查信息显示,12月10日,庞大汽贸集团股份有限公司(下称“庞大集团”)新增一则被执行人信息,执行标的为6.9亿余元,执行法院为河北省唐山市中级人民法院。这是本月庞大集团第二次被强制执行。12月4日,庞大集团新增两则被执行人信息,执行标的为9.28万元和111.53万元,执行法院为滦州市人民法院。在此之前的11月20日,庞大集团新增多则被执行人信息,高达48则,一口气新增如此多的被执行人信息这在...
在最新一期的工信部申报目录上,《汽车行业关注》获取到了比亚迪海豹05DM-i的申报图,新车是由比亚迪驱逐舰05改名而来。据此前报道,海豹05 DM-i整体采用全新设计,搭载比亚迪第五代DM混动技术。早些时候,比亚迪海洋网已经宣布将专注“海洋生物”系列产品,除了海鸥和海豚之外,其它车型将打造成“海豹”和“海狮”两大产品系列IP,其中海豹系列为轿车车型,海狮系列为SUV车型。目前,海豹系列已...
乘联会数据显示,2024年11月国内乘用车市场零售销量为242.4万辆,同比增长16.6%,环比增长7.2%。其中,新能源乘用车零售销量为127.0万辆,同比增长50.7%,环比增长6.1%,国内新能源车零售渗透率为52.3%,为年内连续五个月突破50%。从11月新能源厂商零售销量榜单来看,入榜销量榜前十名的车企分别为比亚迪汽车、吉利汽车、上汽通用五菱、特斯拉中国、长安汽车、奇瑞汽车、理想汽车、广...
针对北京华阳奥通汽车销售有限公司转卖问界品牌一事,一汽奥迪在经销商沟通群里回应火锅提到:我们只能执行“经销商协议”的约定予以退网,通报给大家是希望大家了解品牌方的态度。同时,也请大家做一个审慎的测算,奥迪让大家持续相对稳定的盈利36年,新品牌能让你盈利多久,建议大家有一个理性的分析和判断。不久前,北京华阳奥通汽车销售有限公司发布公告,内容是即日起不再进行一汽奥迪品牌的经销业务,同时承诺继续提供保养...
12月10日,理想汽车发布2024年第49周(12月2日至12月8日)销量榜单。从中国新能源汽车品牌销量榜单来看,第49周依然只有4家车企销量超万辆,其中,比亚迪以8.50万辆的销量继续蝉联榜首;特斯拉和五菱紧跟其后,销量均超2万辆,分别为2.19万辆和2.14万辆;理想汽车排名第四名,周销量为1.26万辆。另外,挤进榜单前五的还包括零跑汽车,周销量为0.85万辆。榜单前五名之外,包括吉利汽车、小...
汽车行业关注是了解中国汽车品牌,汽车经销商的汽车行业资讯传播平台。以全媒体结合的方式为汽车行业传播权威的汽车资讯,助力中国汽车品牌传播不断创新。新车上市汽车大全汽车新闻汽车品牌销量榜以及汽车经销商报价大全。
最新问答 更多
用车养护
汽车行业关注
报导汽车行业资讯,深挖车界猛料
老虎车网
新鲜汽车资讯,实用车主指南
买车顾问
好玩、好看、有用才是我们的基本诉求