天眼查信息显示,蔚来控股有限公司发生工商变更,注册资本由约82.57亿元增至约111.15亿元,增资达28.58亿元。

这是年内蔚来控股有限公司第二次增资。今年3月2日,蔚来控股有限公司注册资本由78.57亿元增至82.57亿元,增资数额规模达4亿元。随后的3月5日,蔚来控股有限公司发生工商变更,新增合肥建翔投资有限公司、安徽高新舆文蔚源科技合伙企业(有限合伙)两家股东,两者分别持股3.4602%和1.3841%,合计注资比例为4.8443%,两家股东均拥有国企背景。而更早之前的2024年12月26日,蔚来控股有限公司注册资本由约74.29亿人民币增至约78.57亿人民币,增资数额规模也达4.28亿人民币。
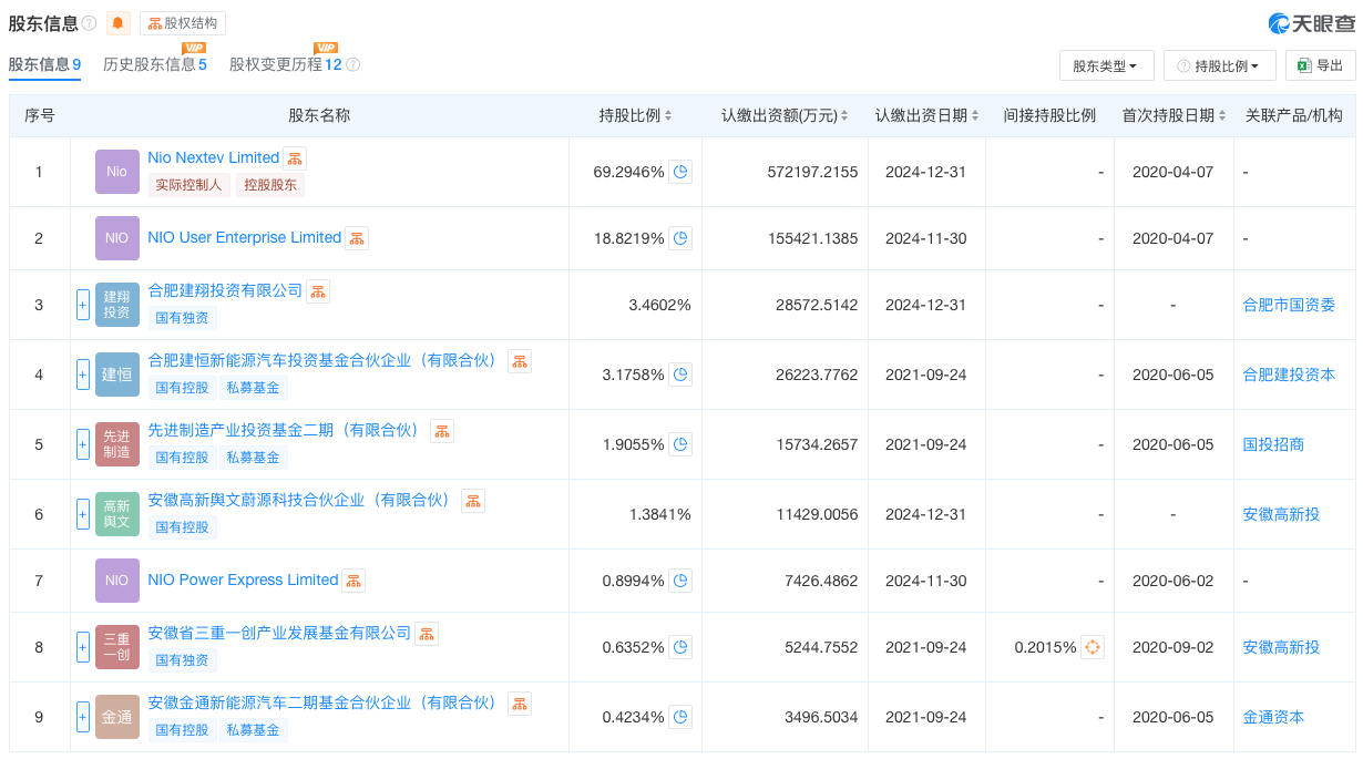
公开信息显示,蔚来控股有限公司于2017年11月成立,曾用名为蔚来 (安徽) 控股有限公司,法定代表人为李斌,目前注册资本为111.15亿元,实缴资本为82.57亿元,是一家以从事商务服务业为主的企业。股东信息显示,该公司由Nio Nextev Limited、NIO User Enterprise Limited、合肥建翔投资有限公司等共计9家公司共同持股。

作为造车新势力代表之一,蔚来汽车于2014年11月成立,创始人为李斌,总部位于上海。如今,十年时间已过去,蔚来汽车的产品矩阵也越来越完善,并实现独立造车。2023年10月,江淮汽车发布公告拟通过公开挂牌方式转让部分资产,其中转让的两家工厂正是江淮与蔚来合作的两座工厂,即江淮蔚来先进制造基地和蔚来第二先进制造基地,即蔚来F1工厂和蔚来F2工厂,这两家工厂都是由蔚来自建,但生产资质来自江淮汽车。同年12月,蔚来以合计为31.58亿元接手了该资产,由此实现独立造车,不再依靠江淮汽车实现量产销售,蔚来汽车旗下全系车型的尾标也从早前的“江淮蔚来”变更为“蔚来”。今年7月7日,江来先进制造技术(安徽)有限公司发布解散公示,注销原因为“决议解散”,公告期为6月10日至7月24日。

截至目前,蔚来已布局蔚来、乐道、firefly萤火虫共三大品牌。数据显示,今年上半年蔚来累计交付11.42万辆新车,同比增长30.57%,其中,乐道品牌交付3.19万辆;firefly萤火虫交付0.76万辆。另据财报显示,2025年一季度,蔚来营收为120.34亿元,同比增长21.5%。其中,汽车销售额为99.39亿元,同比增长18.6%,营业收入增长主要来源于销量增长,一季度蔚来共交付4.21万辆新车,同比增长40.1%,包括蔚来品牌交付2.73万辆新车,乐道品牌交付1.48万辆新车。需注意的是,蔚来营业收入增长的同时也仍面临亏损,一季度蔚来净亏损为68.91亿元,与去年同期净亏损51.85亿元相比,亏损同比扩大30.19%。按照李斌早前的规划,蔚来将在今年第四季度实现盈利目标,其在4月还曾指出,如果蔚来不盈利,不能持续健康经营,那他作为CEO是不称职的。

言归正传,针对此次蔚来控股有限公司注册资本增至111.15亿元,蔚来官方并没有说明增资的原因,不过业内普遍认为,增资的背后一方面说明资本对其后续发展呈现看好的趋势,另外一方面或也意味着蔚来正为其未来发展战略进行调整。

今日,蔚来宣布,公司第80万台量产车在蔚来先进制造合肥一工厂成功下线。其中,第80万台量产车是一台乐道L90。蔚来表示,自7月10日开启预售以来,乐道L90受到了广大用户的高度关注与认可。据了解,乐道L90是乐道品牌旗下继乐道L60之后的第二款车型,于7月10日预售,整车购买价格27.99万元起,电池租赁价格19.39万元起。乐道L90基于蔚来NT3.0平台打造,外观采用家族化风格设计,定位纯电动大型SUV,提供六座和七座布局,动力上提供两驱和四驱两种动力类型选择。按计划,乐道L90将在本月31日正式上市,8月1日开启交付。
如系本站原创文章,转载请注明出处:qi-che.com。
更多汽车新闻关注 请扫码qi-che.com公众微信号:

声明:
·凡注明为其他媒体来源的信息,均为转载自其他媒体,转载并不代表本网赞同其观点,也不代表本网对其真实性负责。如系qi-che.com原创文章,转载请注明出处:qi-che.com。
·您若对该稿件内容有任何疑问或质疑,请即与qi-che.com联系,本网将迅速给您回应并做处理。
邮箱mail@qi-che.com
处理时间:周一—周五 9:00—18:00
相关阅读
随着中国汽车市场新车销量持续下滑,传统乘用车(轿车、SUV、MPV)的需求下降,一直被忽视的皮卡车型有望迎来爆发期。6月6日,国家发改委等三部委共同下发《推动重点消费品更新升级畅通资源循环利用实施方案(2019-2020年)》,除逐步取消限购规定促进汽车消费外,皮卡车型的进一步解禁也被纳入改革的重点项目。实施方案中明确表示,鼓励有条件的地级及以下城市加快取消皮卡进城限制,充分发挥皮卡客货两用功能。...
日前网上盛传一封河北省保定市博野县检测站的通知书,内容提到:接县政府办公室通知,9月23日开始所有年检车辆必须安装ETC,未安装ETC的车辆不予年检,安装ETC后再办理年检业务。针对此消息,博野县官方回应了。微信公众号“博野快讯”发文称,县政府办公室从未发布过任何关于强制安装ETC的通知。不安装ETC设备不影响车辆进行年检,车辆办理ETC设备由广大车主、群众积极参与,自愿选择。此外,相关情况经过调...
今年以来,一直在新能源汽车领域动作频频的恒大,近日又因大规模、高标准的人才招募再度引得市场关注。9月9日,恒大新能源汽车全球研究总院启动全球招聘,计划招聘8000名新能源汽车产业世界顶级专家和技术精英,工作地点遍布中国、瑞典、德国、英国、荷兰、奥地利、意大利、日本、韩国等九个国家。造车狂人恒大“逆势揽才”今年的汽车行业可谓是日渐趋寒,无论是传统汽车业的领头羊如福特、通用、大众等车企动辄上千人的裁员...
最新内容
7月25日,星纪魅族集团发布最新人事任命,任命黄质潘担任星纪魅族集团CEO。目前,黄质潘的微博认证已经变更为星纪魅族集团CEO,此前他的身份为星纪魅族集团执行副总裁兼手机事业部总裁。资料显示,黄质潘于2004年加入魅族,2021年1月担任魅族CEO。2022年,吉利旗下星纪时代宣布持有魅族科技79.09%的控股权,并取得对魅族科技的单独控制;2023年,星纪魅族集团正式宣布成立,沈子瑜出任董事长兼...
7月26日,一汽奥迪Q6Le-tron家族正式开启预售,包括Q6Le-tron以及Q6LSportbacke-tron两款车型,普通版先享礼遇价区间为35.3-38.3万元,轿跑版为37.3万元-40.3万元。据了解,一汽奥迪Q6Le-tron基于全新PPE平台打造,定位为纯电动中型SUV,提供传统SUV和Sportback轿跑SUV两种车身造型,搭载华为乾崑组合驾驶辅助,CLTC最高纯电续航里程...
据中央纪委国家监委驻东风汽车集团有限公司纪检监察组、湖北省襄阳市监委消息:东风商用车有限公司东风德纳车桥有限公司供应链管理部生产调度中心原主任崔家州涉嫌严重违纪违法,目前正接受东风商用车有限公司纪委和湖北省襄阳市樊城区监委纪律审查和监察调查。当晚,东风德纳车桥有限公司党委召开党委(扩大)会,坚决支持、全力配合纪检监察机关对崔家州开展纪律审查和监察调查。会议指出,对崔家州涉嫌严重违纪违法问题开展纪律...
7月24日,有媒体报道称,又有一批汽车微博博主因违反法律法规或《微博社区公约》被处罚禁止关注。从其发布的图片可以看到,被涉及禁止关注的汽车博主有不严肃的克拉拉、remi雷米侃电车、英俊同学666、智能驾驶咚咚咚、曹椿的电车等。汽车行业关注在搜索这些账号发现,大多发布的内容都是关于新能源车企内容。其中,不严肃的克拉拉、remi雷米侃电车近期发布的内容大多是关于蔚来汽车与理想汽车。而曹椿的电车账号发布...
近日,懂车帝对当下热门近40款车型进行辅助驾驶功能实测结果,引发大量网友的关注。与此同时,此次的测试结果也得到了多家车企的回应。据了解,懂车帝辅助驾驶大型科普节目《懂车智炼场》在7月23日上线,该节目主要选取了一些市面的热门车型进行实测。官方表示此次实测的内容分为高速事故场景、城市场景模拟测试等。其中,高速事故场景共设置了6类场景,分别是高速惊现事故车、施工路遇卡车、高速临时施工、消失的前车、高速...
汽车行业关注是了解中国汽车品牌,汽车经销商的汽车行业资讯传播平台。以全媒体结合的方式为汽车行业传播权威的汽车资讯,助力中国汽车品牌传播不断创新。新车上市汽车大全汽车新闻汽车品牌销量榜以及汽车经销商报价大全。
最新问答 更多
用车养护
汽车行业关注
报导汽车行业资讯,深挖车界猛料
老虎车网
新鲜汽车资讯,实用车主指南
买车顾问
好玩、好看、有用才是我们的基本诉求