据全国企业破产重整案件信息网显示,9月4日,恒大恒驰新能源汽车(上海)有限公司新增一则破产审查案件,申请人为正泰电气股份有限公司,经办法院为上海市第三中级人民法院。

上海市第三中级人民法院在公告中称,申请人正泰电气股份有限公司以恒大恒驰新能源汽车(上海)有限公司不能清偿到期债务且明显缺乏清偿能力为由,向本院申请恒大恒驰新能源汽车(上海)有限公司破产清算。

公开资料显示,恒大恒驰新能源汽车(上海)有限公司成立于2018年5月,曾用名为恒大国能新能源汽车 (上海)有限公司,法定代表人为蒋孝军,注册资本30.1亿人民币,实缴资本为25.20亿人民币。股权结构显示,该公司由恒大新能源汽车投资控股集团有限公司和恒大瑞博新能源汽车科技(深圳)有限公司共同持股,前者持股比例为99.6678%。

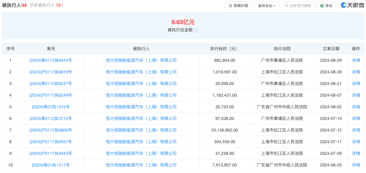
天眼查风险系统显示,目前该公司存在多条被执行人、限制消费令、失信被执行人及终本案件信息。其中,被执行人为44例,被执行总金额为9.63亿元;失信被执行人为51例,未履行比例100%;终本案件为49例,执行标的总金额2.01亿元,未履行总金额1.99亿元,未履行比例99.4%。

在此之前,恒大汽车公告,公司附属公司恒大新能源汽车(广东)有限公司及恒大智能汽车(广东)有限公司(相关附属公司)于7月26日收到相关地方人民法院下发的通知书,相关附属公司的个别债权人于7月25日向相关地方人民法院申请对相关附属公司进行破产重整。8月5日,恒大汽车称,相关地方人民法院于8月2日就相关附属公司破产重整进行听证,相关地方人民法院裁定相关附属公司进入破产重整程序。据了解,上述两家被申请破产重整公司是恒大汽车位于广州南沙的整车生产基地的主体公司,该基地于2020年基本完成主体建设,但始终没有获得整车生产资质,也未投产经营。

恒大汽车受困于资金链已久,同时还面临工厂停产、子公司破产重整、生存危机等一系列难题,目前,恒大汽车正处于资不抵债处境,面临巨大的资金压力。8月30日,恒大汽车最新财报数据。截至2024年6月30日,恒大汽车收入为3837.7万元,同比减少75.17%;毛利为243.3万元,同比减少103.99%;净亏损合计202.57亿元,同比增亏194.73%,半年亏损远超2023年全年亏损的120亿元。

其中,上半年恒大汽车来自新能源汽车业务收入为1609.5万元,同比减少62.7%;恒大汽车仅有恒驰5一款量产车型,截至2024年6月30日,恒大汽车天津工厂累计生产1700辆恒驰5,累计交付超1429辆新能源汽车。

截至2024年6月30日,恒大汽车的现金及现金等价物仅为3900万元;而资产总额为163.69亿元;负债总额为743.5亿元。恒大汽车在财报公告中称,恒大汽车资金状况较2023年更加紧张,必须在未来获得大量资金支持。当前恒大汽车正试图通过引入潜在第三方投资人的方式完成自救,这也被恒大汽车视为是最后一根稻草。但截至发稿,这项举措仍未获得实质性进展。
如今新能源车准入门槛较低,但不同于以往,新能源市场正处于极度“内卷”状态,如果没有足够的资金做支撑其实很难存活下来。此次恒大恒驰新能源汽车(上海)有限公司被申请破产审查,无疑是令恒大汽车难上加难,至于深陷债务危机的恒大汽车还能走多远,结局或不难预测。
如系本站原创文章,转载请注明出处:qi-che.com。
更多汽车新闻关注 请扫码qi-che.com公众微信号:

声明:
·凡注明为其他媒体来源的信息,均为转载自其他媒体,转载并不代表本网赞同其观点,也不代表本网对其真实性负责。如系qi-che.com原创文章,转载请注明出处:qi-che.com。
·您若对该稿件内容有任何疑问或质疑,请即与qi-che.com联系,本网将迅速给您回应并做处理。
邮箱mail@qi-che.com
处理时间:周一—周五 9:00—18:00
相关阅读
随着中国汽车市场新车销量持续下滑,传统乘用车(轿车、SUV、MPV)的需求下降,一直被忽视的皮卡车型有望迎来爆发期。6月6日,国家发改委等三部委共同下发《推动重点消费品更新升级畅通资源循环利用实施方案(2019-2020年)》,除逐步取消限购规定促进汽车消费外,皮卡车型的进一步解禁也被纳入改革的重点项目。实施方案中明确表示,鼓励有条件的地级及以下城市加快取消皮卡进城限制,充分发挥皮卡客货两用功能。...
据车质网统计,2019年10月共接到车主有效投诉信息8016宗,环比上涨7.9%,同比上涨28%,今年1-10月累计投诉量已突破70000宗。10月份汽车投诉榜单中,绝大多数车型投诉量环比呈现增长的趋势,法系、日系品牌汽车投诉量较上月有明显的涨幅。投诉量榜单前十中,法系品牌东风标致408再次霸榜。据数据显示,今年10月,东风标致408销量为1222辆,而10月的投诉量则达到了226宗,占销量的18...
买汽车,到集美!2019首届集美汽车购物节现已强势登陆,席卷全城!作为集美区首次举办的汽车消费嘉年华,本届购物节不仅覆盖范围广、优惠力度大、亮点活动多,更有超长购车期限,等你货比三家甄选性能好车!活动期间,集美汽车购物节深入挖消费潜力,通过推出“前往北站汽车城买车,就送千元油卡”等系列活动,将集美汽车购物节打造成厦门具有标志性汽车消费活动。购车送油卡,优惠齐聚集美汽车购物节本届集美汽车购物节集合了...
最新内容
9月5日,东风汽车集团官方账号“廉洁东风”发布消息称,关注到熊树明律师(xiongshuminglv)在网上连续发出“三年前的今天国家监委驻东风汽车集团有限公司监察专员办公室和十堰市公安局东岳分局犯下的罪行!”的帖子,东风公司纪委高度重视,对其中反映的情况将严格依规依纪依法进行处置。据《汽车行业关注》查询了解到,名为“有多少三百六十五公里路”(xiongshuminglv)的微信公众号发布多条关于...
曾经风光无限的合资品牌如今在中国市场遭遇销量寒冬,尤其是以日产和本田最甚。9月6日,日产中国公布2024年8月中国区业绩。数据显示,2024年8月东风日产(包括日产、启辰和英菲尼迪品牌)销量为46479台,同比下滑28.39%;轻型商用车事业板块(郑州日产)销量为2725台,同比下滑7.25%;此外,截至2024年8月,日产汽车中国区年内累计销量为435,603台,同比下滑9.80%。此前,日产汽...
天眼查信息显示,9月2日和3日,合创汽车科技有限公司(下称“合创汽车”)新增2条股权冻结信息,冻结股权数额分别为2000万人民币、500万人民币,股权被执行的企业为广州合创汽车销售服务有限公司,冻结期限均为3年,执行法院为广州市南沙区人民法院。而在8月21日,合创汽车1亿股权被冻结,股权被执行的企业同样为广州合创汽车销售服务有限公司,冻结期限为3年,执行法院为广州市南沙区人民法院。也就是说,合创汽...
汽车行业关注是了解中国汽车品牌,汽车经销商的汽车行业资讯传播平台。以全媒体结合的方式为汽车行业传播权威的汽车资讯,助力中国汽车品牌传播不断创新。新车上市汽车大全汽车新闻汽车品牌销量榜以及汽车经销商报价大全。
最新问答 更多
用车养护
汽车行业关注
报导汽车行业资讯,深挖车界猛料
老虎车网
新鲜汽车资讯,实用车主指南
买车顾问
好玩、好看、有用才是我们的基本诉求