天眼查信息显示,9月2日和3日,合创汽车科技有限公司(下称“合创汽车”)新增2条股权冻结信息,冻结股权数额分别为2000万人民币、500万人民币,股权被执行的企业为广州合创汽车销售服务有限公司,冻结期限均为3年,执行法院为广州市南沙区人民法院。


而在8月21日,合创汽车1亿股权被冻结,股权被执行的企业同样为广州合创汽车销售服务有限公司,冻结期限为3年,执行法院为广州市南沙区人民法院。也就是说,合创汽车三天累计被冻结股权数额为1.25亿人民币。

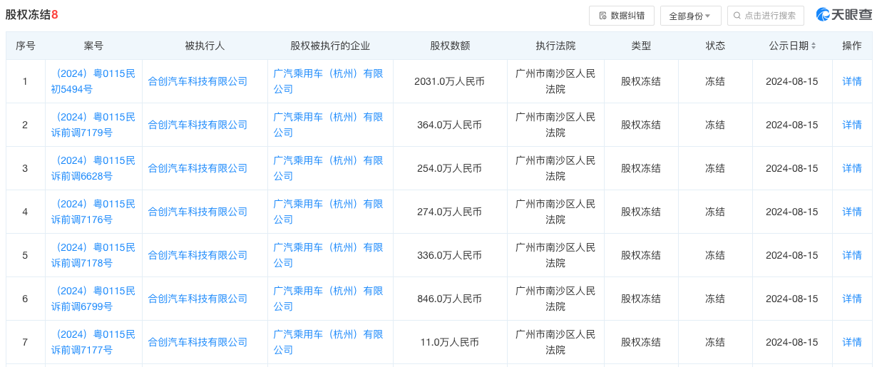
实际上,这并不是合创汽车近期首次股权被冻结。更早之前的8月15日,合创汽车一口气新增7则股权冻结信息,股权被执行的企业均为广汽乘用车(杭州)有限公司,被冻结股权数额合计为4116万元,冻结期限自2024年8月15日至2027年8月14日。

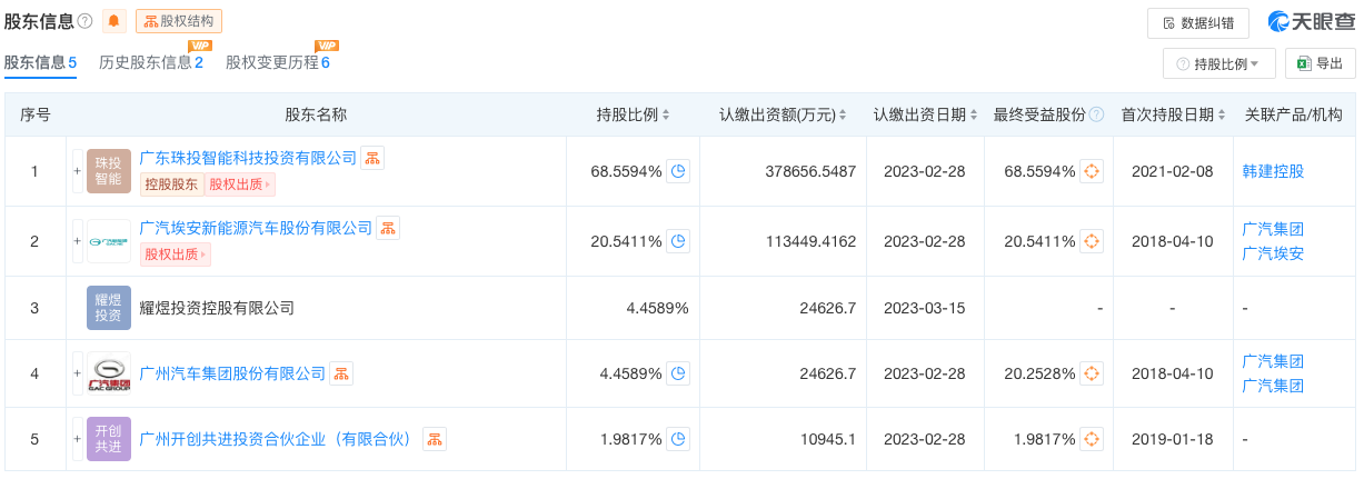
合创汽车科技有限公司成立于2018年4月,法定代表人为李志红,企业注册资本和实缴资本均为55.23亿人民币。股权信息显示,该公司由广东珠投智能科技投资有限公司、广汽埃安新能源汽车股份有限公司、广汽集团等多家公司共同持股,其中,前两者持股比例分别为68.5594%和20.5411%;广州合创汽车销售服务有限公司则成立于2023年8月,法定代表人为刘益新,企业注册资本和实缴资本均为1亿人民币。股权信息显示,该公司由合创汽车科技有限公司全资持股。

合创汽车前身为广汽蔚来,由广汽集团与蔚来于2018年4月共同合资成立。彼时,广汽与蔚来共同投资12.8亿元,在股权上双方分别持股45%,剩余10%则由创始团队持股。新公司成立后,广汽蔚来于2019年12月发布全新新能源汽车品牌“合创HYCAN”,并在次年5月推出首款量产车型007,但新车上市后市场表现不佳,2020年销量不足1000辆,与预期的1.5万辆的年销量目标相差甚远。

2021年,广汽蔚来完成增资扩股,战略投资者珠江投管成为第一大股东,广汽跟进增资,但退居第二大股东,而蔚来并未跟投并且逐渐淡出管理,也是这一年,广汽蔚来正式更名为合创汽车,随后推出了第二款量产车型合创Z03,售价为13.28-16.88万元,在该车的助力下,合创汽车的销量有了明显的增长,由2021年的不足3000辆增长至超2万辆。到了2022年8月,蔚来彻底退出合创汽车股东行列,其持有的股份全部由新进股东耀煜投资控股有限公司接手。很快,合创汽车也先后推出包括合创A06、合创V09车型,但合创汽车的销售未能实现增长。

2023年合创汽车累计销量为18559辆,同比下滑2.02%,月均销量为1500辆左右。而进入2024年后,合创汽车在市场仍然没有太大的声量并且已不再主动公布销量数据。据统计,今年1-7月,合创汽车累计销量为4048辆,其中,销量最高的车型为合创Z03,为2139辆;合创A06为1290辆;合创V09为608辆;而合创007为11辆。

作为曾背靠广汽集团和蔚来汽车的造车新势力,从发展历程和车型布局来看,合创汽车的资质并不差,产品布局的动作也不慢,旗下车型也几乎涵盖SUV、轿车、MPV三大主流市场,但在销量端上却难有起色。此外,当前的合创汽车还面临严重的现金流危机。行业人士认为,合创汽车走到今天的局面与其品牌市场定位不清、产品力不足、品牌影响力不高以及高层管理人员频繁变动有关。
如今的合创汽车已逐渐被边缘化,随着新能源汽车进入存量市场,缺乏造血能力且没有走量车型的弱势品牌正面临生死考验。未来合创汽车将何去何从,或者说合创汽车接下来是否会迎来新的转机,重新振作起来,或许只有未来能给出答案了。
如系本站原创文章,转载请注明出处:qi-che.com。
更多汽车新闻关注 请扫码qi-che.com公众微信号:

声明:
·凡注明为其他媒体来源的信息,均为转载自其他媒体,转载并不代表本网赞同其观点,也不代表本网对其真实性负责。如系qi-che.com原创文章,转载请注明出处:qi-che.com。
·您若对该稿件内容有任何疑问或质疑,请即与qi-che.com联系,本网将迅速给您回应并做处理。
邮箱mail@qi-che.com
处理时间:周一—周五 9:00—18:00
相关阅读
随着中国汽车市场新车销量持续下滑,传统乘用车(轿车、SUV、MPV)的需求下降,一直被忽视的皮卡车型有望迎来爆发期。6月6日,国家发改委等三部委共同下发《推动重点消费品更新升级畅通资源循环利用实施方案(2019-2020年)》,除逐步取消限购规定促进汽车消费外,皮卡车型的进一步解禁也被纳入改革的重点项目。实施方案中明确表示,鼓励有条件的地级及以下城市加快取消皮卡进城限制,充分发挥皮卡客货两用功能。...
据车质网统计,2019年10月共接到车主有效投诉信息8016宗,环比上涨7.9%,同比上涨28%,今年1-10月累计投诉量已突破70000宗。10月份汽车投诉榜单中,绝大多数车型投诉量环比呈现增长的趋势,法系、日系品牌汽车投诉量较上月有明显的涨幅。投诉量榜单前十中,法系品牌东风标致408再次霸榜。据数据显示,今年10月,东风标致408销量为1222辆,而10月的投诉量则达到了226宗,占销量的18...
买汽车,到集美!2019首届集美汽车购物节现已强势登陆,席卷全城!作为集美区首次举办的汽车消费嘉年华,本届购物节不仅覆盖范围广、优惠力度大、亮点活动多,更有超长购车期限,等你货比三家甄选性能好车!活动期间,集美汽车购物节深入挖消费潜力,通过推出“前往北站汽车城买车,就送千元油卡”等系列活动,将集美汽车购物节打造成厦门具有标志性汽车消费活动。购车送油卡,优惠齐聚集美汽车购物节本届集美汽车购物节集合了...
最新内容
9月5日,东风汽车集团官方账号“廉洁东风”发布消息称,关注到熊树明律师(xiongshuminglv)在网上连续发出“三年前的今天国家监委驻东风汽车集团有限公司监察专员办公室和十堰市公安局东岳分局犯下的罪行!”的帖子,东风公司纪委高度重视,对其中反映的情况将严格依规依纪依法进行处置。据《汽车行业关注》查询了解到,名为“有多少三百六十五公里路”(xiongshuminglv)的微信公众号发布多条关于...
曾经风光无限的合资品牌如今在中国市场遭遇销量寒冬,尤其是以日产和本田最甚。9月6日,日产中国公布2024年8月中国区业绩。数据显示,2024年8月东风日产(包括日产、启辰和英菲尼迪品牌)销量为46479台,同比下滑28.39%;轻型商用车事业板块(郑州日产)销量为2725台,同比下滑7.25%;此外,截至2024年8月,日产汽车中国区年内累计销量为435,603台,同比下滑9.80%。此前,日产汽...
天眼查信息显示,9月2日和3日,合创汽车科技有限公司(下称“合创汽车”)新增2条股权冻结信息,冻结股权数额分别为2000万人民币、500万人民币,股权被执行的企业为广州合创汽车销售服务有限公司,冻结期限均为3年,执行法院为广州市南沙区人民法院。而在8月21日,合创汽车1亿股权被冻结,股权被执行的企业同样为广州合创汽车销售服务有限公司,冻结期限为3年,执行法院为广州市南沙区人民法院。也就是说,合创汽...
汽车行业关注是了解中国汽车品牌,汽车经销商的汽车行业资讯传播平台。以全媒体结合的方式为汽车行业传播权威的汽车资讯,助力中国汽车品牌传播不断创新。新车上市汽车大全汽车新闻汽车品牌销量榜以及汽车经销商报价大全。
最新问答 更多
用车养护
汽车行业关注
报导汽车行业资讯,深挖车界猛料
老虎车网
新鲜汽车资讯,实用车主指南
买车顾问
好玩、好看、有用才是我们的基本诉求