据媒体报道,造车新势力爱驰汽车江西省上饶生产基地内,上百辆爱驰汽车被上饶市广信区法院查封。


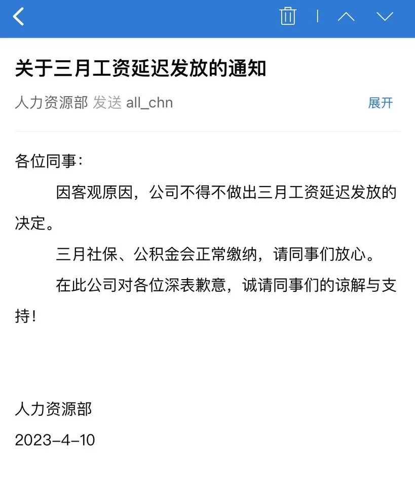
据了解,爱驰汽车被查封源于拖欠员工工资。爱驰汽车于2023年4月开始被曝拖欠员工工资,此后就连社保以及公积金也要求员工自费垫付。通知称,自费垫付社保公积金的员工需要自2023年5月1日起变更劳动合同至上海亿维之家公司且在2023年5月25日之前打款至相关账户,后期公司正常后再退回。


自2023年6月开始,爱驰汽车开始清退员工,并签署相关结算确认书,承诺2023年7月10日前结清工资及相关社保、公积金相关费用。不过,截至爱驰汽车承诺的时间止,爱驰汽车并未偿还员工应得的劳动报酬,于是大量员工选择到相关部门投诉,但截至爱驰汽车上饶工厂资产被查封时,相关问题仍然未得到解决。


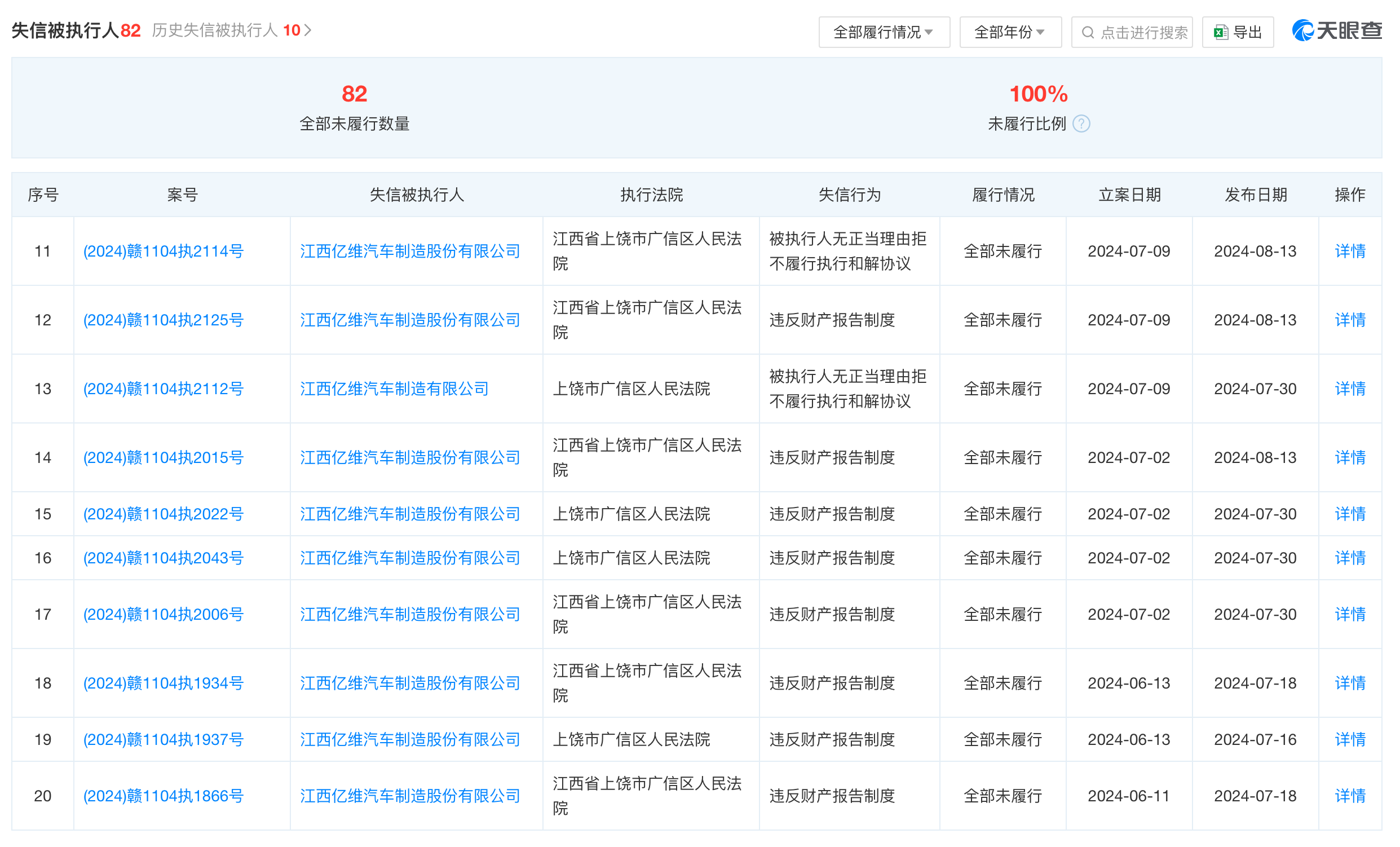
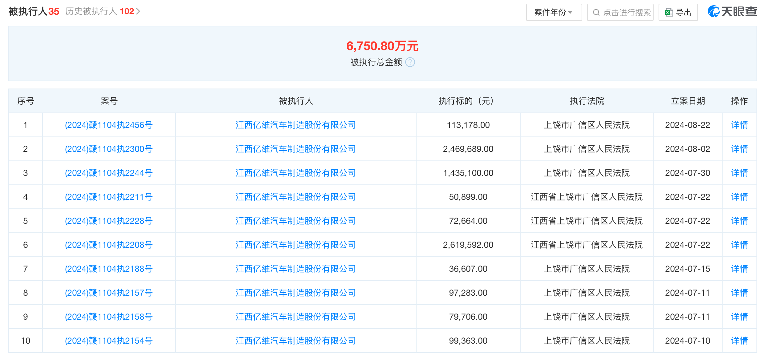
据中国执行信息公开网显示,江西亿维汽车制造股份有限公司多次因为无正当理由拒不履行执行和解协议,且违反财产报告制度,被江西省上饶市广信区人民法院列为被执行人或失信被执行人。据了解,江西亿维汽车制造股份有限公司现存35条被执行人信息,累计被执行6750.8万元,82条失信被执行人以及97条限制消费令。



资料显示,爱驰汽车成立于2017年2月,法定代表人为张洋,注册资本约8.68亿人民币,由宁波梅山保税港区凯玖投资管理有限公司、湖州奥驰投资合伙企业(有限合伙)、宁德时代旗下宁波梅山保税港区问鼎投资有限公司等多位股东共同持股。
爱驰汽车由曾在一汽-大众、上汽大众斯柯达、北京奔驰、沃尔沃等车企担任要职的付强创立,总部设在上海长阳谷创意产业园,生产基地设在江西省上饶市,其曾是中国最早一批实现量产交付的新势力公司之一,其通过斥巨资收购江铃控股从而获得独立造车资质,并获得宁德时代、滴滴出行等知名公司投资,累计融资超过百亿。

自2023年伊始,爱驰汽车开始陷入生产经营困境,因为资金链断裂,爱驰汽车员工无法按时拿到薪资,位于上海长阳谷创意产业园因长期欠租被迫搬离,江西上饶工厂也因此长期停工停产。在此背景下,爱驰汽车长期拖欠货款,越来越多的供应商将其告上法院,甚至被申请破产申请。

今年5月,哈德逊收购I公司(Hudson Acquisition l Corp.)宣布已与爱驰汽车欧洲公司Aiways Automobile Europe GmbH签署业务合并协议书,后者将为欧洲市场提供电动汽车。官方表示,爱驰汽车欧洲公司股东将获得新发行的HUDA普通股,总金额约为4亿美元,该交易将在今年底完成。与此同时,据国内媒体报道,爱驰汽车没有继续留在中国市场的计划,该公司已在德国设有欧洲总部,未来的销售重点将集中在德国,但爱驰汽车未对这一消息作出回应。
如系本站原创文章,转载请注明出处:qi-che.com。
更多汽车新闻关注 请扫码qi-che.com公众微信号:

声明:
·凡注明为其他媒体来源的信息,均为转载自其他媒体,转载并不代表本网赞同其观点,也不代表本网对其真实性负责。如系qi-che.com原创文章,转载请注明出处:qi-che.com。
·您若对该稿件内容有任何疑问或质疑,请即与qi-che.com联系,本网将迅速给您回应并做处理。
邮箱mail@qi-che.com
处理时间:周一—周五 9:00—18:00
相关阅读
随着中国汽车市场新车销量持续下滑,传统乘用车(轿车、SUV、MPV)的需求下降,一直被忽视的皮卡车型有望迎来爆发期。6月6日,国家发改委等三部委共同下发《推动重点消费品更新升级畅通资源循环利用实施方案(2019-2020年)》,除逐步取消限购规定促进汽车消费外,皮卡车型的进一步解禁也被纳入改革的重点项目。实施方案中明确表示,鼓励有条件的地级及以下城市加快取消皮卡进城限制,充分发挥皮卡客货两用功能。...
据车质网统计,2019年10月共接到车主有效投诉信息8016宗,环比上涨7.9%,同比上涨28%,今年1-10月累计投诉量已突破70000宗。10月份汽车投诉榜单中,绝大多数车型投诉量环比呈现增长的趋势,法系、日系品牌汽车投诉量较上月有明显的涨幅。投诉量榜单前十中,法系品牌东风标致408再次霸榜。据数据显示,今年10月,东风标致408销量为1222辆,而10月的投诉量则达到了226宗,占销量的18...
日前网上盛传一封河北省保定市博野县检测站的通知书,内容提到:接县政府办公室通知,9月23日开始所有年检车辆必须安装ETC,未安装ETC的车辆不予年检,安装ETC后再办理年检业务。针对此消息,博野县官方回应了。微信公众号“博野快讯”发文称,县政府办公室从未发布过任何关于强制安装ETC的通知。不安装ETC设备不影响车辆进行年检,车辆办理ETC设备由广大车主、群众积极参与,自愿选择。此外,相关情况经过调...
最新内容
8月30日,岚图汽车旗下第四款车型知音在成都车展开启预售,新车定位纯电中型SUV,共推出4款车型,预售价格区间为20.99万-26.69万元。新车的英文名“Courage”也在成都车展上公布。官方表示,Courage代表着岚图知音作为“985”学霸的底气和岚图作为国家队的志气。它将以不惧挑战的勇气,走向世界的舞台,向世界展示中国品牌的实力和担当。”外观方面:新车提供两种不同风格的前脸设计,单电机版...
8月30日,在成都车展上,蔚来总裁秦力洪再次谈起之前引发热议的汽车销量周榜。秦力洪表示:“每周交强险的周数据,不是每家的销售数据,在《反不正当竞争法》里面是不鼓励不提倡发布的”、“对于我们蔚来的数据每周都不对、不准确。”与此同时,秦力洪还表示,汽车销量周榜是每周交强险的上险数数据,不是销售数据,这两个之间的差别还蛮大的。实际上,此次并非首次秦力洪表达了对汽车销量周榜的看法。早在7月27日,秦力洪就...
据NHK等多家媒体报道,受今年第10号台风“珊珊”影响,日本汽车制造商丰田汽车位于日本国内的14家工厂共计28条生产线将继续停产至9月2日上午,9月2日当天将判断下午是否复工。此前8月28日,丰田汽车宣布日本国内全部工厂暂时停工,预计停工时间为当日傍晚至29日上午。除丰田汽车外,本田汽车也已暂时关闭其位于九州西南部熊本的工厂,日产汽车的九州工厂在本周四和周五也处于停摆,而马自达汽车则从周四晚间起暂...
在2024成都车展上,上汽大众全新车型——途岳新锐正式上市。新车共推出4款车型,官方限时售价为7.99-10.69万元,官方指导价为12.59-15.39万元,成为上汽大众旗下最便宜的SUV车型。据了解,新车是途岳家族的新入门车型,尺寸比途铠大,比途岳小,定位入门级紧凑型SUV车型,动力上提供1.5T发动机和1.5升自然吸气发动机。外观方面,新车明显区别于上汽大众现款在售车型,采用大众最新的家族式...
汽车行业关注是了解中国汽车品牌,汽车经销商的汽车行业资讯传播平台。以全媒体结合的方式为汽车行业传播权威的汽车资讯,助力中国汽车品牌传播不断创新。新车上市汽车大全汽车新闻汽车品牌销量榜以及汽车经销商报价大全。
最新问答 更多
用车养护
汽车行业关注
报导汽车行业资讯,深挖车界猛料
老虎车网
新鲜汽车资讯,实用车主指南
买车顾问
好玩、好看、有用才是我们的基本诉求